Image Coming Soon
In Stock Other

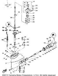
Clip Tube

Part Number: 95002-02100
$1.72
Quantity Available 2 units
Manufacturer Other
Condition Notice

All parts are brand new and unused. However, original packaging may show signs of wear, damage, or may have been opened for inspection. Part quality and functionality are not affected.

Share: